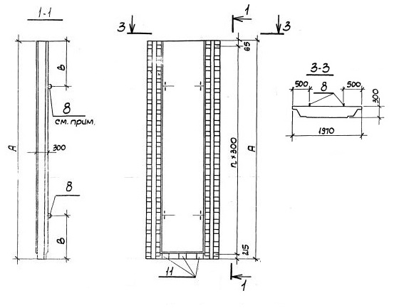
ПС 84.3-1к
Характеристики изделия:
| Параметр | Значение |
|---|---|
| Длина | 1970 |
| Ширина | 300 мм |
| Высота | 8380 мм |
| Масса | 10420 кг |
| Нормативный документ | Серия 3.901.1-14 |
Цена:
Рассчитать стоимостьПС 84.3-1к Панель стеновая доборная по Серии 3.901.1-14.
Маркировка
ПС - панель стеновая (доборная по высоте);
84 - длина стеновой панели в дм;
3 - толщина стеновой панели в дм;
1 - тип армирования;
к - вариант с клиновидным стыком.